
根據國家或地區的不同,汽車電子組件認證標準可能不同,國家標準、國際標準或汽車企業標準。為了更好地滿足各地區汽車零部件產品的要求,我們將比較和分析不同的靜電放電標準。
靜電放電標準主要由國際標準,IEC61000-4-2,ISO 10605 和各汽車企業標準組成。
表1 靜電放電測試標準
注:從表中可以看出,國際標準一直是企業或實驗室追隨的標準,都在其基礎上進行修改,大眾和克萊斯勒參考了ISO10605和IEC61000-4-2標準。
靜電放電原理
靜電是由于摩擦而無法在兩個物體之間轉移的。這些積累的電荷產生靜電。靜電放電可以通過傳導和輻射對電子元件進行干擾。PCB干擾影響系統工作。靜電放電基本上分為兩種模型。1.各種電子設備帶電引起的靜電;2.人體電荷引起的靜電,汽車零部件的基本標準、產品標準和汽車企業標準主要基于人體模型模擬靜電放電。下圖為人體模型的原理圖,其中電阻代表人體電阻,電容C代表人體電容。
試驗方法及測試布置
1試驗環境要求
表2 環境要求
注:通過靜電放電原理,靜電與環境有很大關系,通常溫度越低,濕度越低,越容易產生靜電,從上表可以看出,各汽車企業接近產品標準,比基本標準嚴格,克萊斯勒和寶馬標準沒有明確的溫濕度要求,但根據標準可追溯性原則,需要追溯到上級,以ISO10605要求為準。
2、靜電發生器輸出特性的要求
ISO 10605:2008標準中規定了接觸放電電流波形,給出校驗波形的上.升沿和電流峰值而且還給出校驗t1和t2處(不同的RC組合有不一樣的t1和t2)的電流值,見表3。
表3 接觸放電模式的電流特性
圖中:X 時間,ns ;Y 電流,A
1:330pF/330Ω
2:150pF/330Ω圖1 150pF/330Ω、330pF/330Ω在5kV 電壓下的放電波形
圖中:X 時間,ns ;Y 電流,A
1:330pF/2000Ω
2:150pF/2000Ω圖2 150pF/2000Ω、330pF/2000Ω在5kV電壓下的放電波形
表4 放電網絡參數比較
注:2kΩ電阻的試驗代表人體直接通過皮膚放電。而用330Ω電阻的試驗代表人體通過金屬部件,例如工具、鑰匙和戒指等的放電。用330Ω電阻的試驗要比用2kΩ電阻的試驗來得嚴格,在相同電阻情況下,電容越大,試驗越嚴格。
3.試驗方法
ISO10605:2008規定,放電有兩種:接觸放電和空氣放電。接觸放電在測試過程中是首選。對于間隙和放電頭無法接觸的地方,選擇空氣放電每個汽車企業的標準也相當于這個標準。
IEC6100-4-2規定,放電包括接觸放電、空氣放電和間接放電,以及引用此標準的汽車公司,如大眾和克萊斯勒。
4.測試布置
結合ISO10605:2008標準和企業標準,其標準包括電子組件測試和包裝處理規定的電子組件敏感性分類測試。一些汽車制造商需要車輛靜電放電測試。這里主要分析比較電子組件。
4.1.電子組件(帶電狀態)
根據ISO10605:2008的標準布局要求,水平耦合板通過兩個470kΩ電阻(圖3中13所示)與地面參考平面連接,將電池的負極連接到水平耦合板上,被測物置于水平耦合板上(50±5)mm,離開水平耦合板(HCP)的邊緣為0.1m。
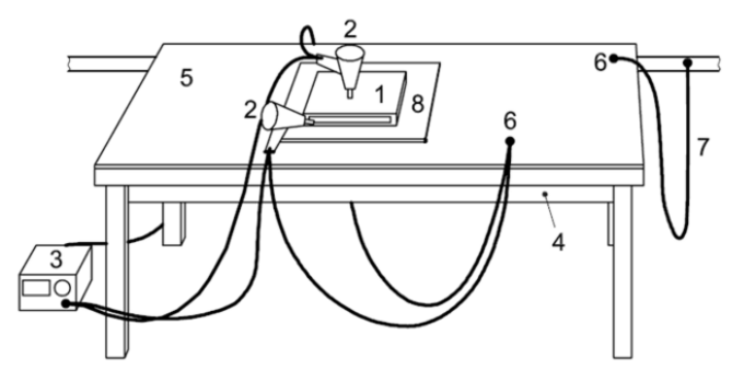
圖3.對帶電組件進行靜電放電試驗的配置
注:圖中,1被試設備2靜電放電發生器3靜電放電發生器4非導電桌5水平耦合板(HCP)6接地點7接地線連接8被試設備9外部設備10電池11絕緣支撐(如需要)12絕緣塊13470kΩ電阻14參考平面(GRP、選擇)15水平耦合板(HCP)接地。
注:汽車制造商標準參照ISO10605、IEC61000-4-2標準,但部分制造商會根據自己的要求進行細微調整,如接地電阻,因為放電也會根據接地電阻、雪鐵龍、福特標準要求為1MΩ,克萊斯勒標準不需要測試帶電模式。
4.2.電子組件(無帶電狀態)
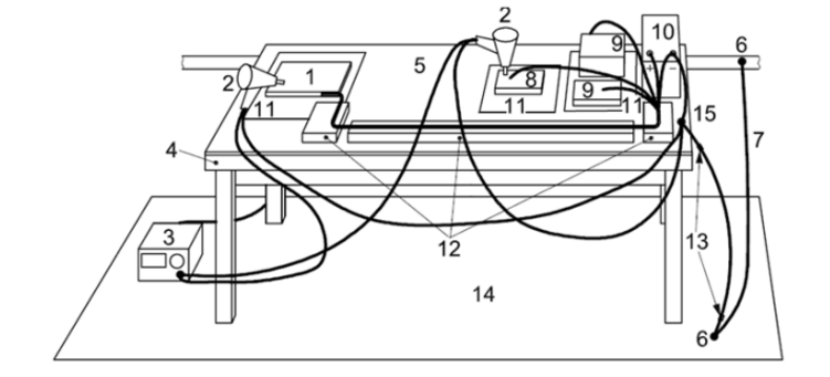
ISO10605:2008標準要求靜電放電試驗表面與其他導電結構(如屏蔽室導電表面)的最小距離為0.1m。放電試驗時,被測物體放置在50mm的絕緣墊上,發生器的放電返回電纜應距離被試設備至少0.2m。高電阻(1mΩ)可以消除靜電荷聚集,見圖4。
圖4對不帶帶電組件進行靜電放電試驗的配置
注:圖中,1被試設備2靜電放電發生器3靜電放電發生器4非導電桌5水平耦合板(HCP)6接地點7接地線連接8消靜電墊。
注:汽車制造商的標準主要參考ISO10605無帶電部件的測試布局,但大眾和克萊斯勒直接參考IEC61000-4-2的測試布局和測試方法。在模式放電過程中,包裝和處理規定的電子部件的敏感性分類測試主要基于人體模型,因此,公眾參考IEC61000-4-2標準更符合現場情況。從表4可以看出,放電網絡150pf/330Ω的放電能量高于150pf/2000Ω,不同的是,克萊斯勒標準還需要場耦合測試。
5.試驗等級
接觸放電2kV~15kV參照ISO10605附錄C要求。空氣放電2kV~25kV。IEC61000-4-2要求接觸放電2kV~8kV,空氣放電2kV~15kV,并規定開放等級。汽車企業標準都是在這個標準的基礎上進行測試的,但最高是25KV。
6.試驗判據
ISO10605標準附錄C規定了四個故障判斷依據,要求每個測試等級完成后評估被測對象,汽車企業標準將根據測試等級給出相應的判斷等級。